Rolladen Relais Schaltplan
Schaltleistung AC15 230 V AC VA 600 1-Phasenmotorlast AC3 - Betrieb 230 V AC kW 05 Max. Mit einer Wochenschaltuhr mit einem Wechsler kann die Rollladensteuerung tageszeitabhängig automatisiert werden indem der Wechsler so programmiert wird dass er tagsüber die Klemme A3 mit dem L verbindet und nachts auf A4 umschaltet.

Pin Auf Low Cost Rolladen Steuerung Mit Sonoff 4ch Pro R2 Fhem Iot Tasmota Raspberry Pi
Ein Trennrelais trennt die Motoren voneinander.

Rolladen relais schaltplan. Klemmen Sie vom vieradrigem Steuerkabel zum Rollladenantrieb den Auf Draht schwarz des Rollladenmotors auf den Klemmkontakt Pfeil nach oben des Jalousieschalters. Desweiteren bieten wir Modelle welche mit einem Tages- und Wochenprogramm versehen sind. Dieser Download ist für Sie kostenlos und beträgt.
Schaltlast mW VmA 300 55 Kontaktmaterial Standard AgNi Obwohl ich Varistoren drin habe gibt es noch bei den zu kleinen Relais ordentlich Funken. Zum einen gibt es die einfachste Art indem Rolladen manuell bedient werden. Moderner und einfacher geht es hierbei aber auch schon mit einem Schalter neben dem Fenster durch den der Rolladen bedient werden kann.
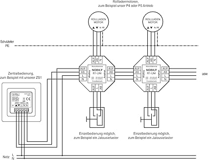
Der besseren Übersichtlichkeit wegen sind die L- und N-Verbindungen nicht dargestellt. Gemäß Schaltplan aneinander geschaltet werden. Elektrische Rollläden können mittels zwei verschiedenen Anschlüssen installiert werden.
Bei einmaligem Start drücken fährt das Rollo in seine Endposition. Trennrelais rolladen motoe olladen ollladen ollo makise anschliessen 4 fach schaltplan. 2 Antriebe mit Einzelbedienung.
Zudem verfügen sie jeweils über 2 Wechselkontakte. Ausschaltstromstoß der Motoren zu berücksichtigen. Einzelbedienung nur über Taster Kategorie.
Es besteht grundsätzlich aus 2 unterschiedlichen Relais bei denen das eine dazu dient den Rolladen herab zu lassen und das andere um ihn einzurollen also kurz für die Ab- und die Auffunktion. Hierbei ist der höhere Einschalt- bzw. Dieses Relais übernimmt dann diese Halte-Funktion für eine gewisse Zeit.
Beide Relais haben noch eine Stopp Funktion. Rolladensteuerung zentral Rollläden dienen dem Schutz der eigenen vier Wände. Steuerrelais für einen Motor mit Einzelbedienung.
10 A ausgelegt ist. Außerdem helfen Sie beim Sparen von Energiekosten und lassen an heißen Sommertagen die Wärme gar nicht erst ins Haus kommen. Ob als Sonnenschutz am Tag oder Blickschutz in der Nacht die Jalousien haben einige Funktionen.
Hierbei ist zu beachten dass der Laststromkreis L und N für max. Wer sich hier vom Hersteller verschaukelt vorkommt weil er nach nur 5. Zentral und Gruppensteuerung Relais.
Klemmen Sie Phase s chwarz der Zuleitung 230 Volt auf Klemme L oder P des Jalousieschalters. Wenn nach nur 5 Jahren die Somfy-Rolladensteuerung Ihren Dienst quittiert erntet man bei der Hotline des Herstellers nur ein Schulterzucken. 5 5 1 17.
Schaltplan Eines Rolladen Mit Einem Motor Schaltplan Elektroinstallation Rolladen Elektrisch. 30110220V A 1203012 Min. Somfy Rolladensteuerung reparieren UPDATE 2021.
Jarolift Trennrelais Rolladen Relais Steuerrelais Rohrmotor Anleitung Trennrelais Im R2 Uni Warema Trennrelais Up. Beim Anschluss der Relais ist allerdings zu beachten dass die Summe der Ströme die maximale Strombelastung von 10 A pro Relais nicht übersteigt. Rolladen Fenster Shop De Elero Netzteil Ihr Online Shop Trennrelais Unter Putz R4 U 230 Untitled Anschlussplan Elektronikmotor Funkmotor Mechanischer Motor Anleitung Trennrelais Im R2 Uni Zentralsteuerung Relais Gruppensteuerung Kaufen Rohrmotor24 R1 U E 230 Technische Daten Www Rolllra De Rolladenschalter Anschliessen Schaltplan Komplette Wozu.
Rolladen mit Trennrelais und Rolladenmotoren nachrüsten Fast jedes Haus verfügt heute über Rollladen die auf verschiedene Art bedient werden können. Werden elektrische Rollläden mit einer Zeitschaltuhr bedient erfolgt der Anschluss ähnlich wie bei der Montage des Schalters. Das bedeutet dass die Zeitschaltuhr Ihren Rollladen jeden Tag zur gleichen Zeit hebt bzw.
Dadurch ist die Rollo- Steuerung Taster Relais für die nächste Betätigung wieder in seiner Ausgangsposition. Die Amperezahl ergibt sich aus der Summe der Motorströme in der Reihenschaltung. Dabei wird die Spannung nach zB.
Im zweiten Schritt den Jalousieschalter anschließen. Alle Zeitschaltuhren sind mit einem Tagesprogramm versehen. Schaltplan trennrelais rolladen by facybulka posted on march 3 2017 17 views.
Rolladenschalter anschließen Rolladen befinden sich in vielen Haushalten DeutschlandsSie sind zum Schutz und zur Sicherheit vor Dieben sowie vor Wind und starkem Unwetter gedacht. Relais Trennrelais für 1 od. Jarolift 2-Fach Trennrelais Typ TDR2C Bedienungsanleitung zum 2-Fach Trennrelais Typ TDR2C von Jarolift hier finden Sie Informationen zum Einbau und Verdrahtungsbeispiele das Trennrelais wird dazu verwendet um unerlaubtes parallel schalten von Jalousie- oder Rolladenmotoren zu verhindern.
Besitzer von modernen Rollladensystemen können die Helligkeit in ihren Räumen ganz nach dem persönlichen Gusto variieren. Rolladen Zeitschaltuhren sind von Namenhaften Herstellern wie Vestamatic Somfy Rademacher und Selve. Muss der Laststromkreis L und N unterbrochen und die Netzversorgung am nächsten Relais neu separat abgesichert zur ersten Eingangsspannung aufgelegt werden.
Da kann man nichts machen lassen Sie die Steuerung austauschen. Des Weiteren ist bei Antrieben mit elektronischer Endabschaltung darauf zu achten dass alle Steuer leitungen des Antriebs nach der Installation einfach zugänglich sind um bei Bedarf die Endlagen justieren zu können. Teil 13 Rolladen Steuerung Relais Trennrelais Fur Bis Zu 4 Antrieben Ohne Einzelbedienung Up Rohrmotor24 Shelly 2 5 Rollladen Steuerung Anschluss Creationx Smart.
Maximale Schaltleistung des aneusternden Relais nicht übersteigen. Der elektrische Anschluss der Rollläden an einem Schalter hängt davon ab auf welcher Seite der Antrieb montiert wird. Schaltleistung AC1 VA 3000 Max.
View 45 Schaltplan Der Vorwarts Ruckwarts Motorsteuerung
View 45 Schaltplan Der Vorwarts Ruckwarts Motorsteuerung

Bildr Controlling A Ton Of Servos Tlc5940 Arduino Arduino Projekte Arduino Arduino Sensoren

Getriebemotoren Ansteuerung Motor Schaltkreis Programmieren

Shelly 2 Bzw 2 5 Als Rolladensteuerung Per Stromstossschaltung

Rolladenmotor Rolladenschalter Anschliessen Jalousieschalter Jalousiemotor Anklemmen Anleitung Youtube

Pin Auf Low Cost Rolladen Steuerung Mit Sonoff 4ch Pro R2 Fhem Iot Tasmota Raspberry Pi

Pin Auf Low Cost Rolladen Steuerung Mit Sonoff 4ch Pro R2 Fhem Iot Tasmota Raspberry Pi

Elektronisches Steuerrelais Zur Motorsteuerung Rollladenshop

View 45 Schaltplan Der Vorwarts Ruckwarts Motorsteuerung

Pin Auf Low Cost Rolladen Steuerung Mit Sonoff 4ch Pro R2 Fhem Iot Tasmota Raspberry Pi
View 45 Schaltplan Der Vorwarts Ruckwarts Motorsteuerung

View 45 Schaltplan Der Vorwarts Ruckwarts Motorsteuerung
View 45 Schaltplan Der Vorwarts Ruckwarts Motorsteuerung

Nobily R1 Uni Roller Shutter Isolation Relay 1 Motors Relay Single Relay Shutter Relay Single Control Central Control Group Control For Roller Shutter Motor Tubular Motor Roller Shutter Driver Amazon Co Uk Diy

Schaltplan Umbau Zundschloss Zum Einbau Eines Startschalters Smart Roadster Coupe Smart Roadster Roadsters

View 45 Schaltplan Der Vorwarts Ruckwarts Motorsteuerung

How To Use 5 Volt Relay Modules With Arduino And Esp8266 Youtube Arduino Relay Arduino Projects
